Hilfe bei Automatik Gasstange

Technische Fragen und Antworten, Tipps und Tricks für Profis und Bastler. Hier sind die "Fachleute" am Werk.
Antworten
Benutzeravatar
Tombus
T2-Süchtiger
Beiträge: 278
Registriert: 29.07.2010 12:42
IG T2 Mitgliedsnummer: 235

Hilfe bei Automatik Gasstange

Beitrag von Tombus »

Liebe Leute.

Ich brauche Hilfe bei folgendem Problem:

Motor, Wandler und Automatikgetriebe des 2 CJ sind bis auf die Gasstange komplett.
Diese verbindet, zumindest beim 1.8 und 2.0, das Automatikgetriebe mit dem üblichen Gasgestänge an den Vergasern.
Hat den Sinn, den Kickdown zwischen Getriebe und Vergasern zu "kommunizieren".
Aber eben diese schei... Stange ist nicht mehr aufzutreiben.

Hat jemand ein Ersatzmotor/Getriebe im Lager und kann mir diese Stange für ein oder zwei Wochen LEIHEN.
Dann könnte ich sie mir nachbauen. Das wäre eine große Hilfe für mich.
Danke und Grüße

Tom

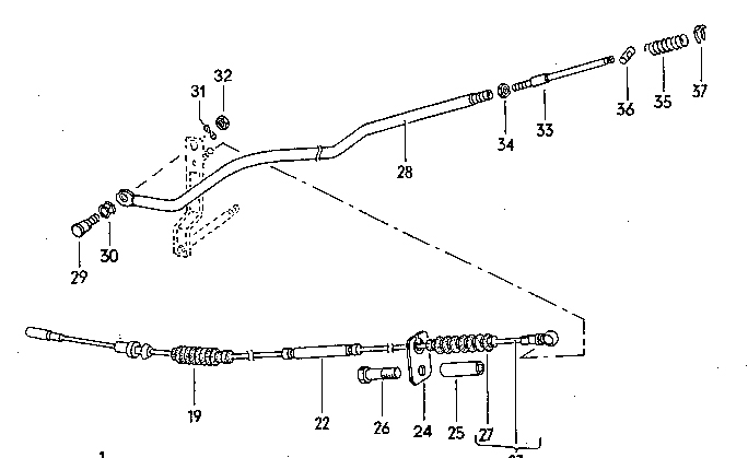
Noch ein Foto wie sie ausschaut:
Dateianhänge
Die Stange mit der Nummer 28
Die Stange mit der Nummer 28
Interpunktion und Orthographie dieses Postings sind frei erfunden. Eine Übereinstimmung mit aktuellen oder ehemaligen Regeln wäre rein zufällig und ist nicht beabsichtigt.
Benutzeravatar
wolle81
T2-Profi
Beiträge: 56
Registriert: 27.11.2012 17:44
IG T2 Mitgliedsnummer: 0

Re: Hilfe bei Automatik Gasstange

Beitrag von wolle81 »

Hallo Tom,

Ich kann mal nachsehen was ich noch so da habe, 3 Getriebe hae ich liegen und kann nicht sagen ob das evtl. sogar doppelt da ist dann kannst eins bekommen. Werd nach sehen und mich melden!

Gruß
Danie
Bild
Benutzeravatar
Tombus
T2-Süchtiger
Beiträge: 278
Registriert: 29.07.2010 12:42
IG T2 Mitgliedsnummer: 235

Re: Hilfe bei Automatik Gasstange

Beitrag von Tombus »

Das wäre natürlich ein echter Glückfall.
Ich danke dir auf jeden Fall schon mal.

Gruß
Tom
Interpunktion und Orthographie dieses Postings sind frei erfunden. Eine Übereinstimmung mit aktuellen oder ehemaligen Regeln wäre rein zufällig und ist nicht beabsichtigt.
Benutzeravatar
wolle81
T2-Profi
Beiträge: 56
Registriert: 27.11.2012 17:44
IG T2 Mitgliedsnummer: 0

Re: Hilfe bei Automatik Gasstange

Beitrag von wolle81 »

Hi Tom,

so wie ich es bis jetzt sehe, finde ich nur eine Stange. Mein Lager ist halt gerade auch voll ausgelastet und da zu suchen ist umständlich. Die eine Stange ist am Getriebe angebaut. Als Muster könnte ich Sie dir auch zur Verfügung stellen. Wo kommst denn her? Ich fahre evtl. am Samstag nach Herford. Ansonsten müssten wir das per Post regeln oder halt bei mir abholen.

Gruß
Bild
Antworten