Hallo zusammen,
Hat jemand von euch eine Westfalia AHK 321 022 unterm Bus und könnte mir mal Bilder von den Stoßstangenhaltern knipsen?
Meine passen zwar an die Stoßstange, aber nicht an den AHK-Körper.
In der einzig schraubbaren Position steht die Stoßstange schräg nach unten gekippt und die Halter haben gut 1cm Luft zum AHK-Körper.
T2a Westfalia AHK
T2a Westfalia AHK
Hendrik Weise
MJ70 T2a US-Westy Mexiko-Reimport BJ 09/69
www.instagram.com/el_kike_69 #weissmintgrünerbulli
T2 Stammtisch OWL: jeden ersten Donnerstag im Monat um 19 Uhr in der Gaststätte „Friedrichshöhe“ Kaistraße 48, 33803 Steinhagen
MJ70 T2a US-Westy Mexiko-Reimport BJ 09/69
www.instagram.com/el_kike_69 #weissmintgrünerbulli
T2 Stammtisch OWL: jeden ersten Donnerstag im Monat um 19 Uhr in der Gaststätte „Friedrichshöhe“ Kaistraße 48, 33803 Steinhagen
- Norbert*848b
- *

- Beiträge: 7712
- Registriert: 30.10.2013 22:57
- IG T2 Mitgliedsnummer: 848
Re: T2a Westfalia AHK
Moin Hendrik,
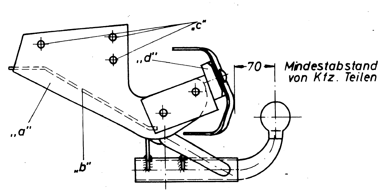
das Bild der Einbauanleitung bringt auch keinen entscheidenden Hinweis?:
https://www.vw-t2-bulli.de/data/documen ... -vw-t2.pdf
das Bild der Einbauanleitung bringt auch keinen entscheidenden Hinweis?:
https://www.vw-t2-bulli.de/data/documen ... -vw-t2.pdf
Freundliche Grüße aus Algermissen
Norbert
Hab hin und wieder "Versager" und "Verzweifler" im reviedierten Zustand für den 50 PS Bus-Motor anzubieten.
Norbert
Hab hin und wieder "Versager" und "Verzweifler" im reviedierten Zustand für den 50 PS Bus-Motor anzubieten.
Re: T2a Westfalia AHK
In das obere Langloch bekommst du die hintere Schraube nicht?
Sicher, dass es die korrekten Halter für diese AHK sind? Die die ich kenne sehen optisch anders aus. Ich habe meine Halter nachgebaut weil sie fehlten, wenn du willst kann ich dir die Skizze senden...
Sicher, dass es die korrekten Halter für diese AHK sind? Die die ich kenne sehen optisch anders aus. Ich habe meine Halter nachgebaut weil sie fehlten, wenn du willst kann ich dir die Skizze senden...
Re: T2a Westfalia AHK
Das ist die einzige Position, wie ich durch beide Löcher schrauben kann.Steve hat geschrieben: ↑15.07.2021 18:18 In das obere Langloch bekommst du die hintere Schraube nicht?
Sicher, dass es die korrekten Halter für diese AHK sind? Die die ich kenne sehen optisch anders aus. Ich habe meine Halter nachgebaut weil sie fehlten, wenn du willst kann ich dir die Skizze senden...
Vermutlich sind’s die falschen Halter. @Norbert*848b die Anleitung zeigt eine andere Form, richtig.
@Steve
Deine Skizze wäre super!!! Vielleicht kann ich diese verkehrten ja noch umbauen.
Danke vorab!
Hendrik Weise
MJ70 T2a US-Westy Mexiko-Reimport BJ 09/69
www.instagram.com/el_kike_69 #weissmintgrünerbulli
T2 Stammtisch OWL: jeden ersten Donnerstag im Monat um 19 Uhr in der Gaststätte „Friedrichshöhe“ Kaistraße 48, 33803 Steinhagen
MJ70 T2a US-Westy Mexiko-Reimport BJ 09/69
www.instagram.com/el_kike_69 #weissmintgrünerbulli
T2 Stammtisch OWL: jeden ersten Donnerstag im Monat um 19 Uhr in der Gaststätte „Friedrichshöhe“ Kaistraße 48, 33803 Steinhagen
Re: T2a Westfalia AHK
Hallo Hendrik,
ich denke auch, Du hast die falschen Teile verbaut. So sieht´s bei mir aus.
LG Frank
ich denke auch, Du hast die falschen Teile verbaut. So sieht´s bei mir aus.
LG Frank
Re: T2a Westfalia AHK
Danke für die Fotos Frank! Da werd ich wohl mal basteln müssen!
Hendrik Weise
MJ70 T2a US-Westy Mexiko-Reimport BJ 09/69
www.instagram.com/el_kike_69 #weissmintgrünerbulli
T2 Stammtisch OWL: jeden ersten Donnerstag im Monat um 19 Uhr in der Gaststätte „Friedrichshöhe“ Kaistraße 48, 33803 Steinhagen
MJ70 T2a US-Westy Mexiko-Reimport BJ 09/69
www.instagram.com/el_kike_69 #weissmintgrünerbulli
T2 Stammtisch OWL: jeden ersten Donnerstag im Monat um 19 Uhr in der Gaststätte „Friedrichshöhe“ Kaistraße 48, 33803 Steinhagen
Re: T2a Westfalia AHK
ich finde die Zeichnung leider nicht mehr. Ist aber schnell selber erstellt anhand von diesem Bild in der Betriebsanleitung von Westfalia, ist ja nur ein rechteckiges Blech mit zwei Löchern.
Trenn einfach das Blech für die Montage der Stoßstange von deinen falschen Haltern ab und schweiße das neue Teil an. Ich habe dafür die Stoßstange am Auto positioniert und an den Spritzschutzblechen verschraubt um die Halter im montierten Zustand zu heften. Dann auseinanderbauen und durchschweißen.
Trenn einfach das Blech für die Montage der Stoßstange von deinen falschen Haltern ab und schweiße das neue Teil an. Ich habe dafür die Stoßstange am Auto positioniert und an den Spritzschutzblechen verschraubt um die Halter im montierten Zustand zu heften. Dann auseinanderbauen und durchschweißen.
